CỦA:trang web biên tập đăng: 2026-04-23 Nguồn:Site
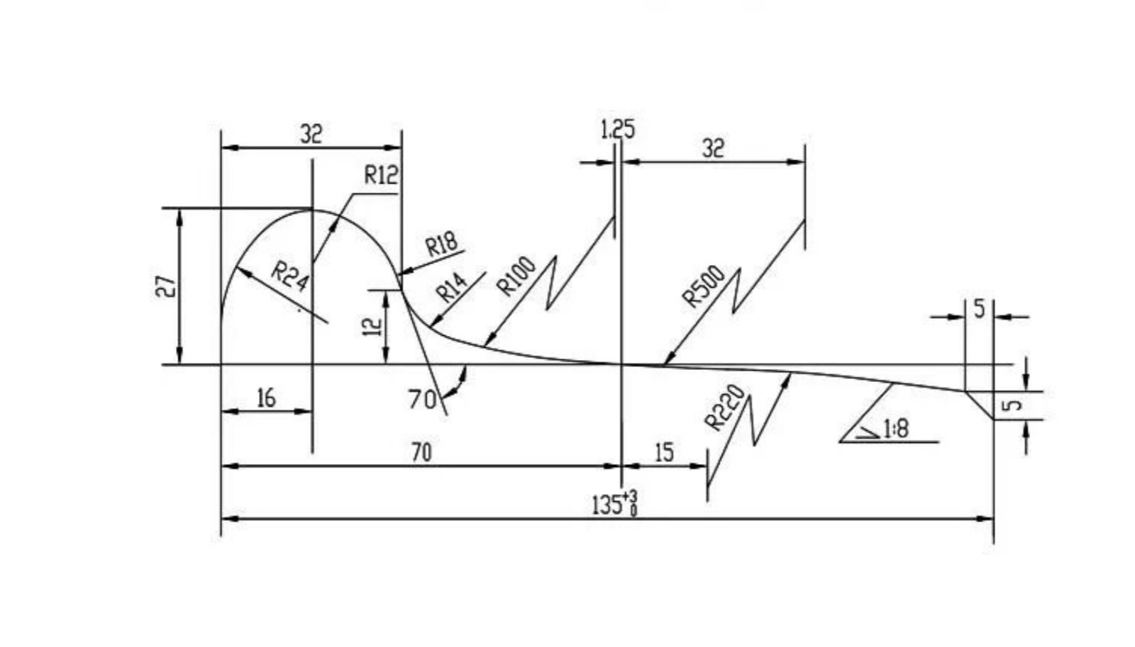
Thiết kế mặt bích và mặt lốp của bánh xe đường sắt đóng một vai trò quan trọng trong việc đảm bảo vận hành tàu an toàn và hiệu quả. Hình dạng tiếp xúc bánh xe-đường ray phù hợp không chỉ làm giảm mài mòn và ứng suất mà còn cải thiện độ ổn định khi chạy tổng thể và hiệu suất điều chỉnh đường cong.
Khi thiết kế mặt lốp bánh xe, điều cần thiết là phải đảm bảo khả năng tương thích phù hợp với hình dạng đầu ray. Giao diện bánh xe-đường ray lý tưởng có thể giảm ứng suất tiếp xúc và giảm thiểu mài mòn một cách hiệu quả, điều này góp phần trực tiếp vào:
· Cải thiện hiệu suất khi đi qua các đường cong
· Giảm tần suất và chi phí bảo trì
· Tăng tốc độ tới hạn để đảm bảo độ ổn định của tàu
Ngoài ra, mặt gai lốp được thiết kế mới phải phù hợp chặt chẽ với mặt gai lốp bị mòn trong điều kiện vận hành thực tế. Điều này giúp giảm lượng kim loại bị loại bỏ trong quá trình định hình lại, từ đó kéo dài tuổi thọ của bánh xe và giảm chi phí bảo trì.

Mặt bích là một tính năng an toàn quan trọng giúp ngăn ngừa trật bánh. Chiều cao và hình học của nó phải được kiểm soát cẩn thận:
· Chiều cao mặt bích: Thường nằm trong khoảng từ 26 mm đến 30 mm
· Quá thấp: Tăng nguy cơ trật bánh
· Quá cao: Có thể gây nhiễu với các bộ phận đường ray như bu lông hoặc vai tấm chắn cá, đặc biệt khi độ mòn mặt lốp lớn
Để di chuyển an toàn qua các lối rẽ, đường kính bánh xe nhỏ hơn thường yêu cầu chiều cao mặt bích cao hơn.
Góc mặt bích cũng rất quan trọng. Mặt ngoài của mặt bích phải tạo một góc thích hợp với mặt phẳng nằm ngang:
· Góc quá nhỏ: Nguy cơ leo bánh xe cao hơn (trật bánh ở tốc độ thấp)
· Góc quá lớn: Tăng khả năng loại bỏ gia công trong quá trình định hình lại và có thể gây ra tiếp xúc giữa mặt bích và đường ray trong điều kiện góc tấn

Biên dạng mặt lốp chủ yếu được xác định bởi điều kiện đường ray và tốc độ vận hành của tàu, thay vì thiết kế kết cấu của bánh xe. Khi không có thay đổi đáng kể nào về cơ sở hạ tầng đường đua hoặc tốc độ vận hành, hình dáng gai lốp thường không thay đổi—ngay cả khi cấu trúc bánh xe được sửa đổi.
Trong hầu hết các trường hợp, cấu hình mặt lốp được tiêu chuẩn hóa được áp dụng để đảm bảo tính tương thích và độ tin cậy trên các hệ thống đường sắt.
Thiết kế mặt bích bánh xe đường sắt và mặt lốp là một khía cạnh quan trọng đảm bảo an toàn và hiệu suất của tàu. Bằng cách tối ưu hóa tương tác bánh xe-đường ray, kiểm soát kích thước mặt bích và điều chỉnh thiết kế mặt lốp phù hợp với điều kiện vận hành thực tế, các nhà khai thác đường sắt có thể nâng cao đáng kể hiệu quả vận hành, giảm mài mòn và cải thiện độ an toàn tổng thể.